在我们的日常生活中,从食品行业到工业生产,X光检测机被广泛应用,为我们的生活质量保驾护航。那么,X光检测机究竟是如何工作的呢?今天,我们将揭开这个科学设备的神秘面纱。

X光检测机是如何工作的?
X光检测机的核心工作原理主要可以分为以下三个步骤:
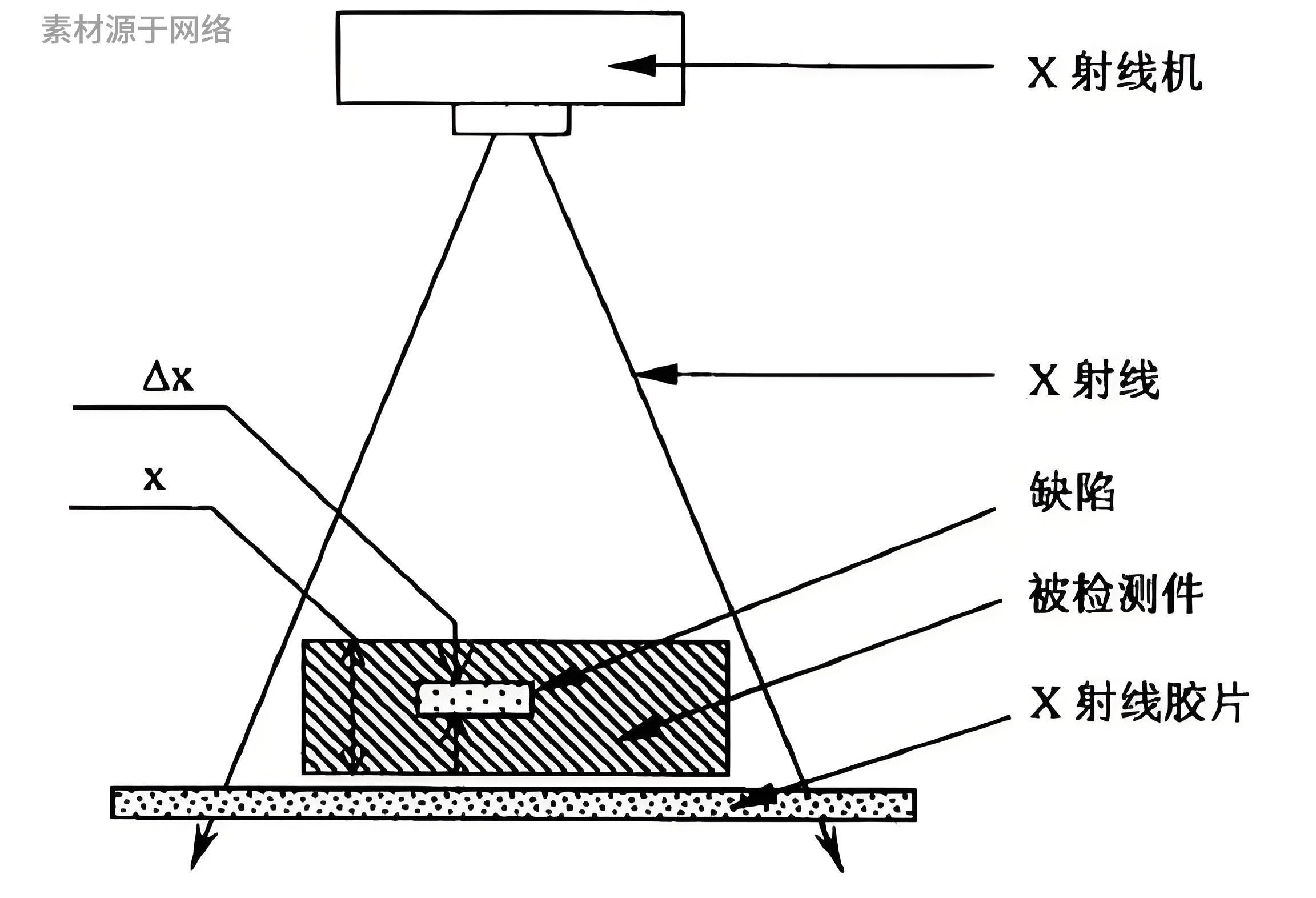
1. X光的生成:X光检测机通过内部的X光管产生高能射线。当高压电流通过X光管时,电子在真空环境中高速撞击金属靶,释放出X光射线。
2. 穿透与成像:X光射线能够轻松穿透许多物质,但会因材料密度的不同而产生不同的衰减。在检测过程中,X光穿透被检查物,产生强弱对比的图像,这种图像能够直观显示被检测物的内部结构。
3. 图像分析:生成的X光图像会被检测机内部的高精度传感器捕捉,并通过软件进行处理。操作人员可以借助分析软件轻松识别缺陷、杂质等异常。

X光检测机的应用领域
X光检测机在多个行业都扮演着至关重要的角色。例如,在食品行业,X光检测机可以轻松发现食品中的异物;在电子制造行业,它用于检测PCB板内的焊接缺陷;而在工业领域,它甚至能够侦测金属材料的内部裂纹。它的高精度和非破坏性检测特性,使其成为无可替代的重要工具。

你需要知道的几个小知识
1. X光是否对人体有害?:现代X光检测机严格遵守辐射安全标准,只要按照规范操作,辐射剂量微乎其微,不会对人体造成伤害。
2. 如何选择一台合适的X光检测机?:性能稳定、图像清晰、高检测精度是关键因素,选择时还需根据具体的行业需求来权衡。
X光检测机就像一双能够“透视”的眼睛,带给我们更多的安全保障和行业效率。你是否曾经见过X光检测机的工作场景呢?欢迎在评论区分享你的见解或问题!